讼棍

讼棍相关图片

讼棍是什么意思
690x276 - 163KB - JPEG

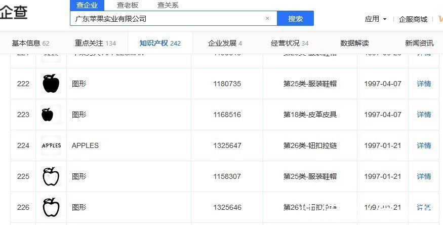
苹果变成\"水果讼棍\"
875x444 - 47KB - JPEG

讼棍
268x223 - 13KB - PNG

中国人口中的「讼棍」指的是谁?
450x544 - 54KB - JPEG

苹果变成\"水果讼棍\"
675x380 - 49KB - PNG

讼棍传奇
380x380 - 10KB - JPEG

苹果变成\"水果讼棍\"
1399x934 - 121KB - JPEG

讼棍传奇
600x450 - 43KB - JPEG

苹果变成\"水果讼棍\"
640x335 - 22KB - JPEG

明朝流氓史之神通广大的讼棍
640x427 - 29KB - JPEG

中国人口中的「讼棍」指的是谁?
335x598 - 48KB - JPEG

讼棍王 陈梦吉 中山客
450x600 - 70KB - JPEG

他伶牙俐齿,是史上最早的讼棍,却因此被杀害
641x677 - 46KB - JPEG

他伶牙俐齿,是史上最早的讼棍,却因此被杀害
639x396 - 31KB - JPEG

维护权利的律师,怎么就成了你所说的讼棍?
542x300 - 23KB - JPEG

讼棍相关问答

暂无相关问答

大家都在看

相关专题