
2016贵州黔东南州事业单位招聘和人才引进14
480x360 - 17KB - JPEG
泰州两处地区事业单位公开招聘166人 全有编制
550x367 - 17KB - JPEG

宿迁9家市属事业单位公开招聘14人 23日起报
500x259 - 35KB - JPEG

宿迁11家市属事业单位招聘17人(有编制) 今天
400x241 - 89KB - JPEG

宿迁9家市属事业单位公开招聘14人 23日起报
500x234 - 34KB - JPEG

江苏省属事业单位招聘报名明天启动!你想知道
319x205 - 19KB - JPEG

江苏泗阳事业单位招考现黑幕 缺考者被录取
400x309 - 28KB - JPEG

高分四连号(图)
500x302 - 30KB - JPEG

权威发布!宿迁市市属事业单位2018年第一批公
320x180 - 32KB - JPEG
泰州市市属事业单位计划招引高层次人才199人
550x904 - 127KB - JPEG

泰州市机关事业单位社会保险登记变更申请表模
780x1104 - 94KB - PNG

泰州市机关事业单位高级技师报名登记名册格式
780x551 - 78KB - PNG
泰州所有机关事业单位开缴职业年金
550x285 - 30KB - JPEG

宿迁事业单位调动人员情况登记表模板免费下载
780x1104 - 105KB - PNG

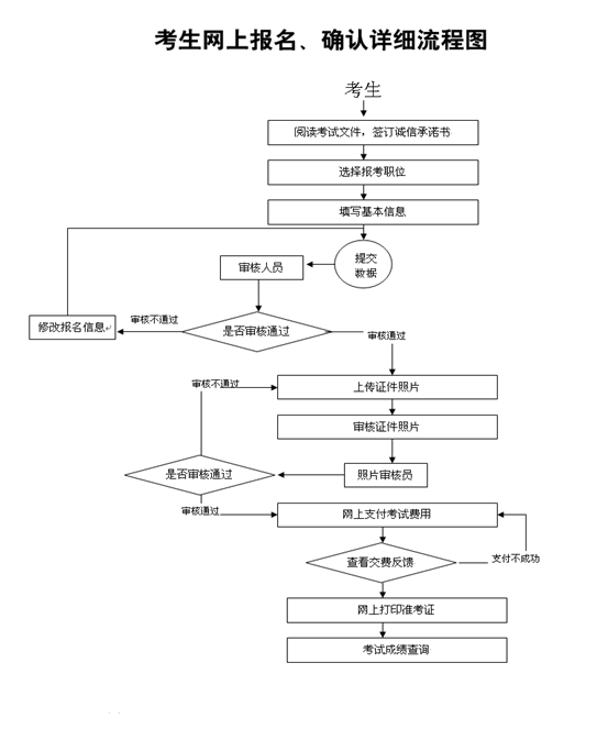
2011年泰州市市直事业单位网上报名流程_职业
543x683 - 28KB - GIF
泰州事业单位招聘网聚焦泰州事业单位招聘2018,提供2018年泰州事业单位招聘信息。权威泰州事业单位招聘网
泰州事业单位招聘网免费提供2018年泰州事业单位招聘信息,第一时间更新泰州人事考试网发布的泰州事业单位
2018年泰州市海陵区事业单位招聘考试公告(16人)事业单位招聘考试网2018年4月23日讯:为优化事业单位工作
2018-03-01 2018上半年泰州市事业单位公开招聘公告(2018-02-23 2018年泰州事业单位招聘信息汇总(2月)
2018泰州市事业单位招聘信息 2018-08-17 2018四川绵阳市事业单位招聘公告汇总(327人)2018-09-07 2018年
6.本市 事业 单位在编人员不得报考。2018年应届毕业生,此类人员须在2018年8月31日前取得招聘岗位要求的
泰州事业单位考试公告栏目为您整理2018泰州事业单位招聘公告以及泰州事业单位考试公告解读,公告时间,面试
泰州事业单位招聘网免费提供泰州事业单位招聘,最新泰州事业单位招聘信息等信息。更新时间:2018-9-20