降雨预测_中国降雨预测

降雨预测相关图片

你造吗?微信又憋出大招了
640x672 - 53KB - JPEG

6月黑、吉、辽农业气象天气预测
783x490 - 41KB - JPEG

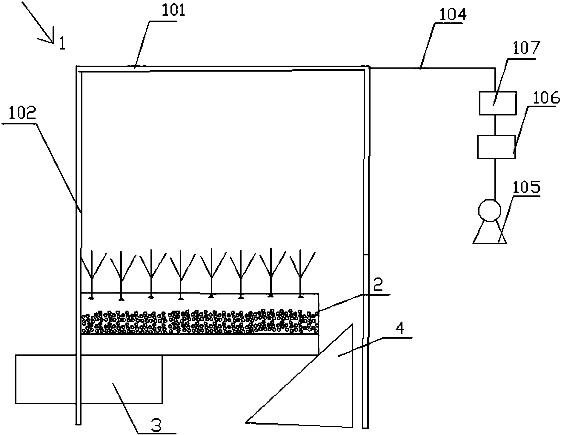
山地城市降雨径流预测模拟装置
1879x1458 - 13KB - PNG

日本气协推出降雨预测智能手机软件
539x446 - 84KB - JPEG

6月贵州天气如何?来看看省气象台的预测…
680x255 - 42KB - JPEG

未来几天各地阶段性降雨预测!
640x648 - 69KB - JPEG

中国天气网降雨预测
500x406 - 32KB - JPEG

飓风登陆北美,预计带来25厘米的降雨
640x360 - 44KB - JPEG

基于贝叶斯推断的降雨输入预测模型
640x357 - 18KB - JPEG

五一假期出游预测报告出炉杭州西湖成全国
650x1000 - 471KB - JPEG

时尚水电工程堤坝降雨预测icon图标
1024x768 - 153KB - JPEG

海北州今冬明春雪灾趋势预测_平均气温
710x392 - 51KB - JPEG

未来几天各地阶段性降雨预测!
640x331 - 36KB - JPEG

中国天气网降雨预测
366x300 - 23KB - JPEG

百度地图发布《2019年春运出行预测报告
740x315 - 131KB - PNG

降雨预测相关问答

2016年江淮地区降雨预测
答:你说的也太悬了 一般天气预测 都是10天 大预测 7天推测 3日概括 你要预测一年的 你觉得可能吗? 要真是能做到 那 旱涝 都可预测 做好防范了, 所以目前是不可能的 别说这 就
降雨量如何测算?
答:它与雨量筒是配套使用的。测量时,将雨量筒中的雨水倒在量杯中,根据杯上的刻度就可知道当天的降雨量了。 中国气象局规定:24小时内的降雨量称之为日降雨量,凡是日雨量在
二0一七年降雨预测
答:据悉,2015年全国日照时数异常偏少,降水日数与降雨量异常偏多,气温异常偏高,但7月初气温异常偏低(尤其是南方地区)。预计2016年全国降雨量还将偏多,降水日数会趋于正常,
习水=0一六年天气及降雨预测
答:贵州全省极端性灾害天气频现。 受强对流天气影响,习水地区受到雷电、冰雹、强降水、大风等异常天气袭击,全县大到暴雨,局地大暴雨,最大降雨量达106.9mm,冰雹最大直径为
2017年河北省降雨预测
答: 2017与2016差不多。 河北属温带大陆性季风气候。大部分地区四季分明。年日照时数2303.1小时,年无霜期81~204天;年均降水量484.5毫米,降水量分布特点为东南多西北少
2010年黑龙江省黑河市降雨量预测是多少?
答:今年干旱的可能性不大,预计降雨量在520-650毫米左右
气候数据只能预测降雨么
答:气候数据只能预测降雨么?那你错了! 天气状况与人类息息相关,不管你身处在地球的哪个角落,都无法忽视天气和气候给人类生活造成的影响。全球各个地区的气候有着巨大的差
气压温度表能预测降雨吗
答:气压降低趋势更容易雨定程度仪器预测降雨
气象局是根据什么实行降雨预测的
答: 随着科技的发展,有了越来越多的气象仪器,设立了遍布各地的气象站,现在的天气预报不再是经验型的.而是靠根据风云一号气象卫星发回的云图和各地气象台站测得的温度、气
2017年我国北方地区降雨预测
答: 老话说,“天有不测风云”,谁知道明年北方地区哪块云彩有雨呢。多关注中央气象台消息好了。

大家都在看

相关专题