
同或门符号,同或门逻辑符号,表达式及真值表
238x191 - 20KB - JPEG

同或门符号,同或门逻辑符号,表达式及真值表
160x106 - 7KB - JPEG

同或门符号,同或门逻辑符号,表达式及真值表
214x123 - 11KB - JPEG

欧姆定律体现了同一导体或同一段电路上同时存
154x120 - 4KB - PNG

与非门、或非门、异或门、同或门的逻辑表达式
250x174 - 127KB - BMP

下图是实验室制取气体的常用装置.请同答:(1)仪
327x147 - 8KB - PNG

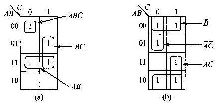
中最小项分布如下图所示,写出其与或表达式。
437x213 - 55KB - JPEG
1.jpg)
出与输入之间的逻辑关系,写出其逻辑表达式,并
583x285 - 19KB - JPEG

逻辑代数基础
556x285 - 69KB - JPEG

异或同或门逻辑符号_利用或门和非门设计的异
346x139 - 8KB - JPEG

1.逻辑变量的取值,1比0大()2.异或函数与同或函
993x1404 - 96KB - PNG

:温度升高.K值 (填a:一定增大 .b:一定减小 或
144x167 - 10KB - PNG

还原产物是 ,(2)该反应的平衡常数表达式为K=
204x124 - 6KB - JPEG

之处是直线平行.都是由直线y=kx(k≠0)向上或向
538x262 - 6KB - PNG

异或门与同或门逻辑符号及真值表
185x108 - 23KB - JPEG
同或是一个词汇,“同或”可以是一个数学运算符,应用于逻辑运算。其运算法则为a同或b=ab+a‘b’(a'为非a
展开全部 与非门逻辑表达式:Y=(A·B)'=A'+B' 逻辑符号: 向左转|向右转或非门有3种逻辑符号,包括:形状
同或门(英语:XNOR gate或equivalence gate)也称为异或非门,是数字逻辑电路的基本单元,有2个输入端、1
异或,英文为exclusive OR,缩写成xor异或(xor)是一个数学运算符。它应用于逻辑运算。异或的数学符号为
定义逻辑函数定义表达式为:其中:A1,A2,.,An为输入逻辑变量,取值是0或1;F为输出逻辑变量,取值是0或1
同或门符号,同或门逻辑符号,表达式及真值表-同或门符号,同或门逻辑符号 异或与同或是一对互补的逻辑运算,
第二移位律是适用于仅包含同或和异或两种运算的布尔代数表达式,这种表达式称为同或异或表达式。
写出下图的逻辑表达式.三、用代数法将下列函数化简为最简与或表达式.(9与非门 或非门 异或门 同或门 与或